化工泵所采用的電機基本上都是交流電機,交流電機包括同步電機和異步電機兩大類。雖然同步電機和異步電機在運行原理和結構上有很多不同,但它們之間也有許多相同之處。因此,我們將著重對交流電機的共同問題進行講解。
1、三相異步電動機的結構
在各類電動機中,籠型轉子三相異步電動機是結構簡單、運行可靠、使用范圍最廣的一種電動機,以下就以這種電動機為例簡單介紹旋轉電機的基本原理。
三相異步電動機分成兩個基本部分:定子(固定部分)和轉子(旋轉部分)。其基本構造如下圖:
圖1
定子:由機座和裝在機座內的圓筒形鐵心以及其中的三相定子繞組組成。機座是用鑄鐵或鑄鋼制成的。鐵心是由互相絕緣的硅鋼片疊成的,鐵心的內圓周表面沖有槽,用以放置對稱三相繞組AX,BY,CZ,有的聯接成星形,有的聯接成三角形。
轉子:轉子是由轉子鐵心和力矩輸出軸組成。轉子鐵心是圓柱狀,也用硅鋼片疊成,表面沖有槽。鐵心裝在轉軸上,軸用以輸出機械力矩。
圖2
2、電動機旋轉實驗
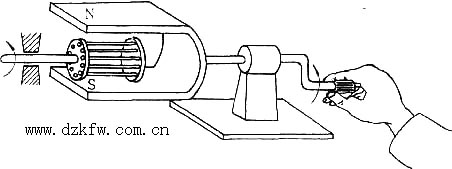
三相異步電動機接上電源,就會轉動。這是什么原理呢?為了說明這個轉動原理,我們先看一個演示。
下圖所示的是一個裝有手柄的蹄形磁鐵,磁極間放有一個可以自由轉動的、由銅條組成的轉子。銅條兩端分別用銅環聯接起來,形似鼠籠,作為鼠籠式轉子。磁極和轉子之間沒有機械聯系。當我們搖動磁極時,發現轉子跟著磁極一起轉動。搖得快,轉子轉得也快;搖得慢,轉得也慢;反搖,轉子馬上反轉。
圖3
從這一演示得出兩點啟示:第一、有一個旋轉的磁場;第二、轉子跟著磁場轉動。異步電動機轉子轉動的原理是與上述演示相似的。那么,在三相異步電動機中,磁場從何而來,又怎么還會旋轉呢?下面就首先來討論這個問題。
3、電動機內旋轉磁場的產生
三相異步電動機的定子鐵心中放有三相對稱繞組AX,BY和CZ。設將三相繞組聯接成星形,接在三相電源上,繞組中便通入三相對稱電流其波形如下圖所示。取繞組始端到末端的方向作為電流的參考方向。在電流的正半周時,其值為正,其實際方向與參考方向一致;在負半周時,其值為負,其實際方向與參考方向相反。
定子鐵心和定子繞組并不轉動,定子繞組中的三相電流隨著時間和相位的變化,三相磁勢相加便形成了旋轉的磁場。
旋轉的定子磁場在切割轉子導條時,會在轉子繞組中感應出一個轉子磁場,引起轉子旋轉。由于感應勵磁場的需要,轉子的轉速總是比定子磁場的轉速稍慢,有一個轉差,這就是感應異步電動機名稱的來歷。
如果轉子是一個永磁體或是一個由轉子勵磁繞組產生的恒定磁場,那么轉子的轉速就與定子磁場的轉速同步,就形成同步電機。


返回頂部
刷新頁面
下到頁底