關鍵字:定時開關電路圖,定時小吊扇
這種小吊扇進可以對行15~60min的定時。
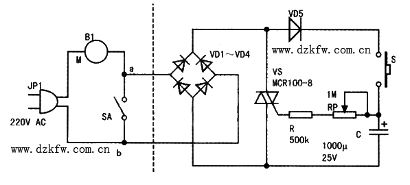
一、工作原理電路
原理下圖所示,虛線左邊是微型吊扇原有電路,右邊是新增定時器電路。
在吊扇手動開關SA斷開的條件下,按一下按鈕開關SB,220V交流市電經吊扇馬達M、橋式整流二極管VD1-VD4、隔離二極管VD5后,對電容器C充電,充電電壓實測≤23V。
與此同時,單向晶閘管vs經限流電阻R和電位器RP獲得合適觸發電流導通,吊扇電機Bl通電而動轉。
人手松開SB后,C通過電阻R和電位器RP放電,維持晶閘管vs繼續導通。經過一段時間(延時時間),電容C兩端放電電壓下降到10V以下,晶閘管VS因得不到足夠的觸發電流而在交流電過零時關斷,電機Bl電源被切斷,吊扇停止運轉。此時,電路本身不耗電。
簡單易做的定時小吊扇time delay switch
電路中,VDl~VD4組成的橋式整流電路能使晶閘管VS導通后,電機Bl兩端獲得全波交流電壓。VD5為隔離二極管,其主要作用是防止電容C所充電荷在晶閘管vs導通后逆向釋放掉。
吊扇延時停轉的時間長短,主要由電容C和RP參數大小確定,此外還與晶閘管VS最低觸發電流大小有關。
二、元器件選擇
晶閘管VS選用MCR100-8(0.8A、600V)或CR02AM-12(0.2A、600V)型塑封單向晶閘管,要求門極觸發電流Ig≤lOμA。VD1一VD5均用1N4007型硅整流二極管。R用1/W的碳膜電阻器,C為25V容量為1000μF的電解電容。
使用時,改變電位器RP的值,即可獲得不同的延時時間。按圖l選用的RC組成,可以實現15—60min的定時。如果想改變定時時間,可以適當改變電阻R、電位器RP或電容C的值。
簡單易做的定時小吊扇time delay switch
三、制作方法
上圖所示為定時器的印刷電路板接線圖。
印制板實際尺寸約為40mm×30mm。此印刷板可用刀刻制作,即用小刀(最好是舊鋼鋸條的斷口)把敷銅板上的銅箔按圖示黑粗線條劃開就可以了。注意開口寬度不要小于2.5mm,且分割處不能有一絲連著。
SB按下圖所示用磷銅片彎制,并用廢舊發光二極管(φ5mm)做成絕緣按鈕。焊接好的電路板裝入體積合適的絕緣小盒內,其兩根外引線頭a、b不分次序并接在吊扇原有的手控開關SA兩端即成。本定時器電路簡潔、設計合理,只要焊接無誤,不需任何調試便能正常工作。它的接入并不影響吊扇原有手動開關的平常使用。
四、應用擴展
這款定時器,除了能用在小吊扇外,還可以應用在其他一些用電器的定時上,如電燈等,只是不同的用電器其工作電流不同,會使定時的時間發生變化。在應用到不同電器時,需要對定時時間進行一下調整即可。


返回頂部
刷新頁面
下到頁底