1.功能
隨著汽車的普及,越來越多的家庭擁有了自己的汽車。而汽車中的電瓶是有壽命的,用個兩三年就會失效。如果汽車因為電瓶的失效而拋錨在路上,是很煩人的。汽車電瓶監視電路就是為解決這個問題而設計的。它不僅可方便地監視汽車電瓶的電壓,還可以監視汽車充電電路的工作狀況。
汽車電瓶監視電路也是為電子愛好者而設計的,通過制作這個小電路,不僅能滿足自己的需要,還可以從制作過程中學習到一些電路知識。
2.設計過程
圖1是發光二極管電路。一般情況下在電路中發光二極管一定要串一限流電阻器,電阻器阻值的大小根據發光二極管的工作電流來決定。這里VD1選用紅色Φ3的發光二極管和電阻器R1的阻值為1kΩ,使輸入電壓在3-12V變化時發光二極管的工作電流約為1~10mA。
圖2又增加了一只綠色Φ3的發光二極管VD2,同時在它的前邊還串接了一只10V的穩壓二極管VD3,這樣只有輸入電壓超過12V時綠色發光二極管VD2才會亮。電阻器R2也是一只限流電阻器。只是因為穩壓二極管VD3可以有10V的電壓降,所以電阻器R2的阻值只有100Ω。
為了使電瓶電壓超過12V時只有綠色發光二極管VD2亮,而紅色發光二極管VD1不亮,電路中設置了三極管VT1和電阻器R3,見圖3。這樣當電瓶電壓超過12V時,電阻器R3使三極管VT1導通,紅色發光二極管VD1兩端得不到應有的工作電壓(一般在1.8~2V左右),所以紅色發光二極管VD1不亮。
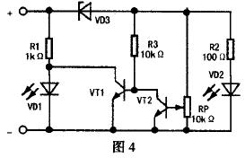
如果輸入電壓繼續升高,超過13.5V時,表明汽車發電機工作正常,在給電瓶充電。為把這種狀態指示出來,而又不再增加發光二極管的個數,電路設置了三極管VT2和微調電阻器RP。使電壓超過13.5v時三極管VT2導通,迫使三極管VT1不能導通而截止。這樣紅色和綠色發光二極管都亮。表示汽車在充電狀態。完整的電原理圖如圖4所示。
3.制作過程
電路中使用的電阻器為1/8W,三極管型號為9014等NPN型三極管,紅色和綠色發光二極管為Φ3高亮管。穩壓二極管要求較嚴,找不到合適的,可以用兩穩壓二極管或串聯硅二極管來滿足要求。制作過程如下:
第一步:安裝紅色發光二極管VD1和電阻器R1。再安裝穩壓二極管VD3和綠色發光二極管VD2及電阻器R2。然后用一可調的直流穩壓電源進行調試,要求在12V電壓時綠色發光二極管VD3才正常。如果穩壓二極管VD3的穩壓值稍低,那么電壓沒有升到12V時綠色發光二極管就會亮,這時可以找一兩只二極管串接在電路中。也可以使用兩只穩壓二極管串接成一只10V的穩壓二極管,如圖5所示。
第二步:安裝三極管VT1和電阻器R3,然后接通12V電源,這時紅色發光二極管VD1應熄滅。
第三步:安裝三極管VT2和微調電阻器RP,接上直流穩壓電源進行調試,使電壓從12V上升到13.5V,仔細調整微調電阻器RP,使微調電阻器RP的中點電壓從低漸漸升高,在13.5V時綠色和紅色兩只發光二極管都亮。至此電路調整完畢。
4.安裝及使用
使用這個電路時只需把它連接在汽車點煙器的插頭上,然后直接插到汽車點煙器的插座上就可以監視汽車電瓶了。注意汽車點煙器的頭部是12V電路的正極。本人把這個電路裝在了一個廢棄手機充電器的外殼,如圖6所示。按照充電器的形狀給出了電路板安裝圖,如圖7所示,尺寸為30mm×35mm,圖中穩壓二極管處預留了幾個位置,可以串聯幾只二極管。
使用時如果紅色發光二極管亮,說明電瓶電壓不足12V。如果綠色發光二極管亮,說明電瓶電壓正常。啟動汽車發動機,綠色和紅色兩只發光二極管都亮說明充電電路正常。


返回頂部
刷新頁面
下到頁底